摘要
储热系统是太阳能热发电站的重要组成部分,可调度输出功率用于“削峰填谷”以降低发电成本。但系统中的熔融盐因凝固点高,必须进行额外的防凝保护。
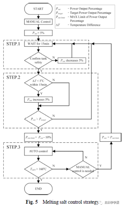
本文给出了混合硝酸盐在工业级储热罐内完整的熔化过程,实验系统的基本参数如下:盐的熔点115℃,罐体容积20m3,内置20根电加热棒,总输出功率240kW。为了强化固态盐的熔化速率,在保证安全的前提下,本实验采用了自动控制与手动控制相结合的运行策略,整个熔化过程耗时314小时,熔盐温度在前38小时显著升高。
基于实验数据和能量平衡分析方法,本文提出了熔融盐储热罐的经济运行模式。
图文导读








◎ 李志,张强强, 王志峰, 李钧
◎ 中国科学院太阳能热利用与光伏系统重点实验室;
中国科学院电工研究所;
中国科学院大学;
北京市太阳能热发电工程技术研究中心
◎ Corresponding author: WANG Zhifeng
E-mail: zhifeng@vip.sina.com
◎ Journal of Thermal Science,2020,29(2):457-463.
Keywords: molten salt, melting, concentrating solar power, thermal energy storage
◎ Springer Link下载链接: